Another great product from our iMixยฎ line! The Cap-Onยฎ Liquor Pourer is a great new revolutionary Pour Spout targeted to Home Bar Enthusiasts and Bar Owners alike. Designed to accommodate the precision pour of your favorite top shelf liquors, and still store them with the “cap on”. No more over-pours on your expensive Johnnie Walker Blue Label Whiskey. This Cap-Onยฎ Pour Spout has the accuracy of our 285-50 pourer.
Simply open your new favorite liquor bottle, insert the Cap-Onยฎ pour spout, pour your cocktail as if you had the most professional pour speed and accuracy, and put the cap back on! This pourer is leveled off in order to allow the cap to be screwed back on as if it were never there. The best part is, that at a price like this, these pour spouts are disposable. When you are done with your bottle, the pourer gets trashed as well.
We all know that liquor starts to evaporate after a certain amount of time. That is why we like to keep the caps on our expensive top shelve bottles. Enjoy the benefit of having the cap-on preventing evaporation, fruit flies and overall cleanliness and still have the precision pour of a professional pour spout.
If you are serious about your liquor, then this Cap-Onยฎ pour spout is a must to stock your bar with! Sold by the dozen, and by the case. Check out our series of Cap-Onยฎ Videos Below.
ย
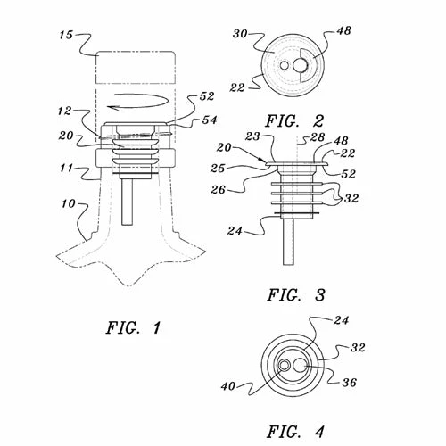
Patent No.: US008245891
ย
Testimonials
![]() | I love the Cap-Onยฎ! I plan to use them for all my shows. No more fruit flies! Plus, I love that I can recycle them by popping them off with a V-Rodยฎ. |
![]() | I highly recommend the Cap-Onยฎ for both the home and professional bartender. They control the pour with better precision so I can measure more accurately. The Cap-Onยฎ proved to work on liqueurs as well. |
![]() | The Cap-Onยฎ is sweet! I love how you can get a perfect three-count pour then just put the cap back on and set the bottle back on the shelf without having to think about cleaning up speed pourers later. Great for parties and I can see private party bartenders using them all the time to tote specialty bottles from venue to venue. The one small draw back is using them with corked bottles, but the V-Rodโข can quickly pop them out. |
![]() | I am in love with the Cap-Onยฎ! Genius! |
![]() | I Like them! |
![]() | The Cap-Onยฎ is nice, particularly for straight, standard spirits. I also like that you can put the cap back on the bottle. |
![]() | I am pleased with the Cap-Onยฎ and V-Rodยฎ is double groovy! Love them! |
























Reviews
There are no reviews yet.